| У немца обнаружили около 600 советских и российских гранат |

В Германии полиция обнаружила у жителя Тюрингии около 600 советских и российских гранат. Стражи порядка вышли на коллекционера оружия после того, как вечером 31 декабря в его доме произошел взрыв. По предварительным данным, взорвалась одна из гранат, в результате чего был тяжело ранен хозяин дома....
»»
|
 |
 |
| Sony придумала способ запретить б/у-игры |

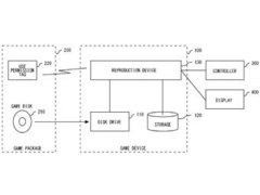
Компания Sony запатентовала технологию, которая позволяет запретить проигрывать на консоли диски, купленные на вторичном рынке. Согласно описанию, блокировать их сможет даже устройство, не подключенное к интернету. Планирует ли Sony использовать технологию в своей новой консоли, "PS4", пока неясно....
»»
|
 |
 |
Билли Боб Торнтон продал особняк со скидкой
Актер и сценарист Билли Боб Торнтон продал особняк в Калифорнии за 8 миллионов долларов, хотя изначально намеревался заработать на недвижимости на 2 миллиона больше. В доме площадью 1020 квадратных метров есть девять спален, восемь ванных комнат, гостиная, студия звукозаписи, библиотека и спортзал. | Самыми продаваемыми автомобилями США стали Ford F-Series и Toyota Camry
В 2012 году самыми продаваемыми автомобилями в США стали пикап Ford F-Series и седан Toyota Camry. Самым успешным брендом оказался "Форд", а самым популярной премиальной маркой стал Mercedes-Benz. Всего за минувший год в США было реализовано 14,5 миллиона новых автомобилей. |
 |
 |
Торговые площади в центре Москвы подорожали на 21 процент
В ноябре 2012 года средняя стоимость квадратного метра на рынке купли-продажи торговых помещений в пределах Садового кольца составила 14248 долларов, что на 21 процент превышает показатель за ноябрь 2011 года. В периферийных районах столицы средневзвешенная цена объектов практически не изменилась (5342 долларов за "квадрат"). | Создатели Макса Пейна и Алана Уэйка намекнули на анонс новой игры
Студия Remedy, создавшая серии Max Payne и Alan Wake, намекнула на то, что в 2013 году она планирует анонсировать новый проект. Предполагается, что им может стать полноценный сиквел истории про Алана Уэйка - Alan Wake 2. Сейчас студия ведет разработку двух пока не анонсированных проектов. |
 |
 |
У Sniper: Ghost Warrior 2 появилась окончательная дата релиза
У игры Sniper: Ghost Warrior 2 появилась окончательная дата релиза. Проект должен поступить в продажу 12 марта 2013 года. Игра является продолжением шутера Sniper: Ghost Warrior, поступившего в продажу в 2010 году. Она должна была выйти еще осенью 2011 года, но релиз неоднократно откладывался. | Число ипотечных сделок в России выросло на 45 процентов
В 2012 году количество ипотечных сделок в России выросло относительно 2011 года на 45 процентов. Среди основных тенденций прошедшего года эксперты также называют повышение процентных ставок, либерализацию требований банков по аккредитации объектов, увеличение первоначального взноса и средней суммы кредита. |
 |
 |
| Обнародованы подробности о мультиплеере Tomb Raider
| Немецкие метеорологи выставили на продажу циклоны
|
 |
| По серии игр Ghost Recon снимут кино
| Нарушителей закона о дольщиках оштрафовали на 33,2 миллиона рублей
|
 |
| Голливудских звезд раскритиковали за участие в ролике против оружия | Геймерам предложили профинансировать еще одну консоль на Android |
 |
 |
| Одного из убийц сербского премьера экстрадируют из Испании | Последний дом Видала Сассуна продали за 16,5 миллиона долларов |
 |
 |
| Лады в прошлом году продавались по одной в минуту | В Audi передумали выпускать A2 серийно |
 |
 |
| В Москве выросли ставки транспортного налога | Force India отказалась подписывать контракт с Буэми |
 |
 |
| Fez портируют на новые платформы в 2013 году | Компания Bentley рассказала о самом быстром четырехместном кабриолете |
 |
 |
| Иванишвили объявил о прекращении преследования сторонников президента | У немцев насчитали 5,5 миллиона единиц оружия |
 |
 |
| В Ленобласти построят "греческий" квартал | Мультиплеер для Tomb Raider сделают разработчики Deus Ex |
 |
 |